
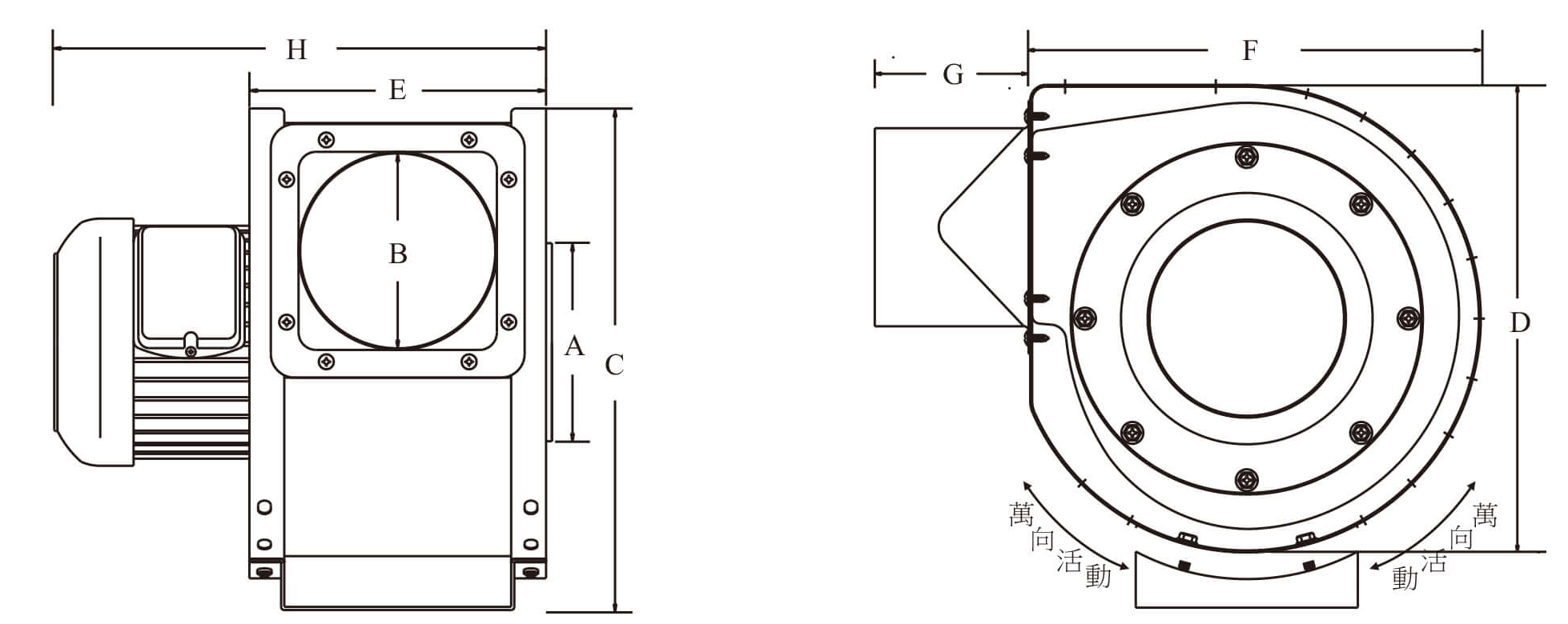
| ITEM/SIZE | A | B | C | D | E | F | G | H |
| YHS-180 | 147 | 147/122 | 318 | 298 | 190 | 287 | 100 | 312 |
| YHS-190 | 147 | 147/122 | 318 | 298 | 190 | 287 | 100 | 330 |
| YHS-240 | 147 | 147 | 352 | 332 | 210 | 325 | 100 | 340 |
| 型號 | 馬力 | 頻率 | 相數 | 極數 | 電壓 | 靜壓 | 風量 |
| TYPE | W | Hz | Phase | Pole | V | mmaq | CMM |
| YHS-180 | 370 | 60/50 | 1/3 | 2 | 110/220/380 | 76/52 | 20/16.5 |
| YHS-190 | 350 | 60/50 | 1/3 | 2 | 110/220 | 96/65 | 24/20 |
| YHS-240 | 750 | 60/50 | 1/3 | 2 | 110/220/380 | 120/82 | 28/23 |